Sök
Hundleksaker
Ferplast Puller hundleksak Midi: Ø 19 cm
fr.
159 kr
Ferplast Puller hundleksak Standard: Ø 27 cm
247 kr
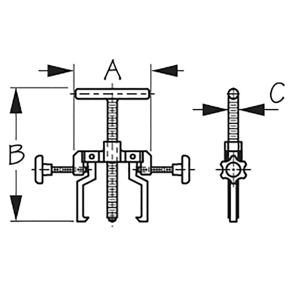
Sea-dog Line Stainless Impeller Puller Silver
hos WaveInn
Sea-dog Line Stainless Impeller Puller Silver 57.2-65.1 mm